德州儀器LM2575系列穩壓器是單片集成電路,為降壓開關穩壓器提供所有有源功能,能夠以出色的線路和負載調節驅動1A負載。這些設備有3.3V、5V、12V、15V的固定輸出電壓和可調輸出版本。

這些調節器需要最少數量的外部組件,使用簡單,包括內部頻率補償和固定頻率振蕩器。
LM2575系列為流行的三端線性調節器提供了一種高效的替代品。它大大減小了散熱器的尺寸,并且在許多情況下不需要散熱器。
一個標準系列的電感器優化使用LM2575可從幾個不同的制造商。此功能大大簡化了開關模式電源的設計。
其他特性包括在規定的輸入電壓和輸出負載條件下,輸出電壓的規定公差為±4%,振蕩器頻率的公差為±10%。包括外部停機,具有50μA(典型)備用電流。輸出開關包括逐循環限流,以及在故障條件下進行完全保護的熱停堆。
LM2575S-3.3/NOPB_(TI德州儀器)LM2575S-3.3/NOPB中文資料_價格_采購_封裝_PDF數據手冊-永芯易科技
特征
●3.3V、5V、12V、15V和可調輸出
●可調版本輸出電壓范圍,-1.23V至37V(高壓版為57V)+4%
最大值超過-線路和負載條件
●規定的1A輸出電流
●寬輸入電壓范圍,40V至60V
只需要4個外部組件
52 kHz固定頻率內部振蕩器
●TTL關斷能力,低功耗待機
模式
●高效
●使用現成的標準電感器
●熱停堆和電流限制
保護
●P+產品增強測試
封裝:TO263
應用
簡單高效降壓調節器
用于線性調節器的高效預調節器
卡上開關穩壓器
正-負轉換器(降壓-升壓)
典型應用圖

引腳

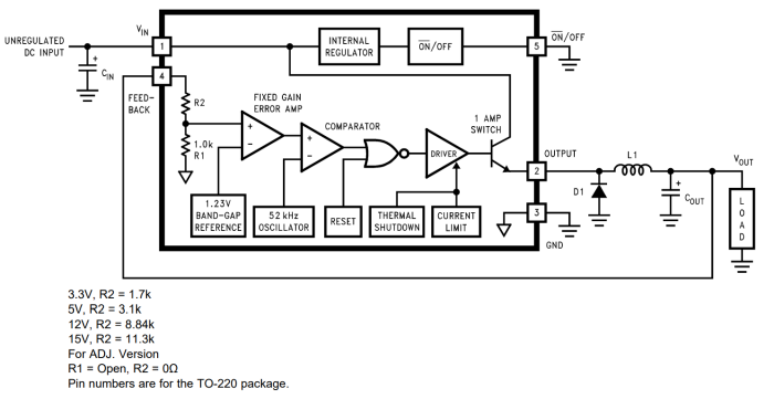
方框圖

詢價列表 ( 件產品)
哦! 它是空的。